最怕突然的停水停電,早知道才能早做準備,記者從深圳水務局和中國南方電網(wǎng)官網(wǎng)獲取了26日、27日相關停水停電信息。26日、27日,因地鐵10號線工程和科技南路人行道綜合整治工程需要,福田區(qū)和南山區(qū)部分地方將停水,同時,因計劃檢修,停電區(qū)域較多,更多具體的停水停電信息整理如下。
26日、27日停水公告

停水時間:2019年8月26日晚22時至27日6時
停水客戶:京地大廈

停水時間:2019年8月26日晚22時至27日7時
停水用戶:深圳市建工集團股份有限公司
對停水公告,市民朋友如有疑問,可致電水務服務熱線82137777。
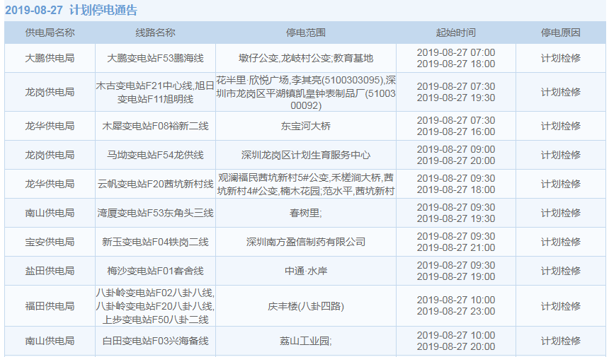
26日、27日計劃停電通知
8月26日計劃停電通知:



8月27日計劃停電通知:

更多停電信息,市民可以登錄中國南方電網(wǎng)查詢,或致電95598。